Avto
28158 ogledov

Po gretju volana in sedežev zdaj še nekaj novega

sneg avto kolona zastoj Profimedia
V koncernu Stellantis so prijavili patentno tehnologijo ogrevanja avtomobilskih blatnikov. S tem želijo rešiti težavo, kako električni avto v zimskih razmerah čim prej rešiti ledenega oklepa.

Sneg in zmrzal prinašata specifične težave. Ena od težav je kopičenje snega na blatnikih. S prihodom elektromobilnosti je ta problem še kompleksnejši, saj se te usedline zaradi (pomanjkanja) odpadne toplote iz motornega prostora ne topijo, kot je to pri običajnih avtomobilih z motorji na notranje zgorevanje.

Koncern Stellantis se je očitno odločil poiskati inovativno rešitev, saj se po podatkih, ki jih je objavil ameriški urad za patente in blagovne znamke (USPTO), trenutno ukvarja z električno ogrevanimi blatniki, katerih vir energije je vozilo.

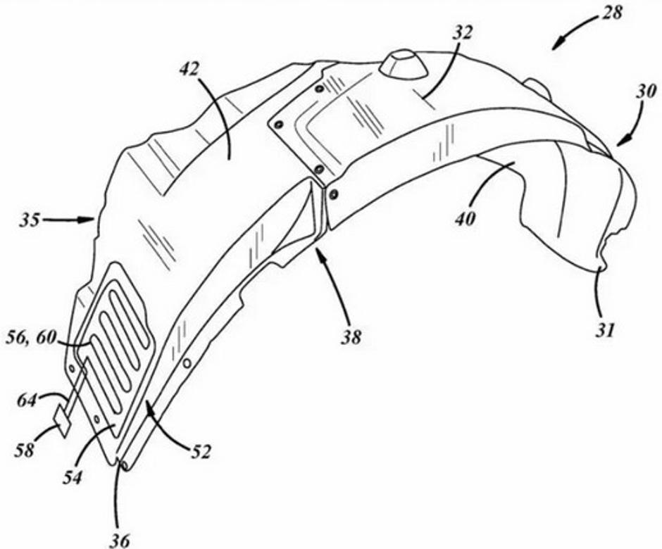
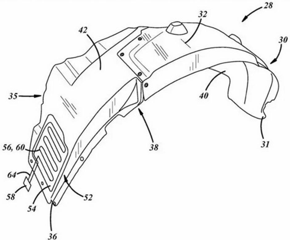
Stellantisov patent ogrevanih avtomobilskih blatnikov | Avtor: Stellantis Stellantis

Gre za poseben element, ki se vstavi med karoserijo vozila in oblogo blatnika, ki bo po novem poleg površine karoserije ščitil tudi sam grelni element in njegovo napeljavo. Iz Stellantisa so sporočili, da bo toplota grelnega elementa šla skozi rob blatnika in ogrela njegovo površino. Inženirji podjetja eksperimentirajo tudi s prevodno folijo, ki bi jo lahko namestili neposredno na sam notranji blatnik.

Iz razpoložljivih gradiv, ki jih je objavil ameriški patentni urad, je razvidno, da želijo v Stellantisu to novost uporabiti predvsem v električnih in priključnih hibridnih avtomobilih. Električna vozila ne oddajajo toliko odvečne toplote kot avtomobili z notranjim zgorevanjem, s katerih hitreje padata in se talita led in sneg. Sedaj moramo le še počakati in videti, ali se bo nova ideja pojavila na serijskih avtomobilih, ali pa bo ostala na ravni patenta.

dezurni@styria-media.si

Komentarjev 13
  • Candaceie_8961 01:52 19.junij 2025.

    🍓 Vroča dekleta čakajo na vas na 👉 𝗦𝗲𝘅𝘁𝗼.𝗹𝗶𝗳𝗲

  • marusa98 19:15 22.januar 2025.

    Zime pa vse toplejše!

  • Toma 09:01 20.januar 2025.

    Bolje bi bilo, če bi dali grelec na steklo LED žarometa in pa na radar!