Avto
7064 ogledov

Mazda razvija revolucionarni motor na dva takta

Mazda CX-30 Anže Petkovšek Mazda CX-30 e Skyactiv X
Mazda je pri ameriškem patentnem uradi prijavila motor s prisilnim polnjenjem, ki lahko deluje tudi z dvotaktnim ciklusom.

Glede nato, da naj bi motor z notranjim zgorevanje že v nekaj letih, vsaj v osebnih avtomobilih, postal stvar preteklosti, se na področju razvoja novih motorjev dogaja presenetljivo veliko. Med te dejavnosti spada tudi Mazdin razvoj motorja, ki naj bi deloval tudi v dvotaktnem režimu.

Astron Aerospace omega 1 rotacijski motor na notranje zgorevanje Avto Revolucija: obeta se novi motor na notranje zgorevanje

Spomnimo, da so bili dvotaktni motorji nekoč precej razširjeni tudi med avtomobilskimi proizvajalci, danes pa pridejo v poštev le za pogon kosilnic, skuterjev in podobnih majhnih vozil. Zadnji, ki so se z njimi resno ukvarjali, so bili pri Saabu, ko so še prodajali športni sonett, zares nazadnje pa smo jih konec osemdesetih let prejšnjega stoletja lahko kupili v vzhodnonemških wartburgih in trabantih.

Mazda dvotaktni motor | Avtor: United States Patent Application Publication United States Patent Application Publication

Motorna veriga, motor Avto Za kateri motor naj se odločim: z verigo ali jermenom?

V večini avtomobilov danes za pogon skrbijo štiritaktni motorji, pri katerih štirje delovni procesi (sesanje, kompresija, zgorevanje in izpuh)  potečejo v štirih taktih med dvema potema bata navzgor in navzdol. Pri dvotaktnem motorju vsi štirje procesi potečejo v eni poti bata navzgor in navzdol., torej v dveh taktih.

Drugačen motor

Tradicionalni dvotaktni motor nima ventilov v motorni glavi, kot jih poznamo v štiritaktnem, ampak je opremljen z odprtinami, ki jih med svojim gibanjem zapira in odpira bat. V karterju tudi ni olja, ampak je to primešano bencinu, ki ga bat med potjo navzgor posesa v karter, kjer spotoma maže ročično gred, med potjo navzdol pa stisne in skozi kanal potisne v valj, kjer ga med potjo navzgor stisne. Hkrati poteka tudi iztiskanje izpušnih plinov iz zgorevalne komore.  Ker v valju hkrati prihaja do dveh procesov, je izpušnim plinom vedno primešane tudi nekaj gorivne zmesi, ki povzroča značilni modri dim in zaradi česar izpušni plini dvotaktnih avtomobilov niso nikoli mogli ustreči okoljskim zahtevam, tudi ko so bile te še razmeroma blage.

mazda zgodovina Začelo se je 1920 Avto 100 let: Od Toya Cork Kogyo do ugledne znamke avtomobilov

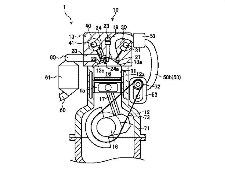
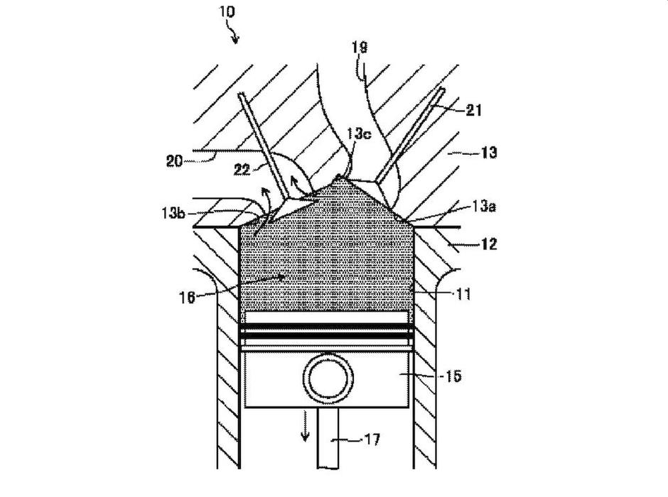
Motor, ki ga glede na patentno listino razvijajo pri Mazdi, je nekaj povsem drugega in nima veliko skupnega z dvotaktnimi motorji iz preteklosti. Namesto neposrednih odprtin v valjih je denimo opremljen s pravimi sesalnimi in izpušnimi ventili, poleg tega pa je tudi prisilno polnjen in lahko deluje tudi v štiritaktnem režimu.

Mazda dvotaktni motor | Avtor: United States Patent Application Publication United States Patent Application Publication

Mazda CX-30 POSODOBITEV Avto Preskusili smo osveženi Mazdin motor skyactiv X

Mazdin patent opisuje prisilno polnjen motor z nedoločenim  številom valjev ter motorno glavo, v katero so ventili vgrajeno pod medsebojnim kotom skoraj 90 stopinj. Medtem ko so sesalni ventili vgrajeni s precej ostrim kotom glede na vertikalo motorja, so izpušni ventili vgrajen pod bolj položnim kotom. Skoraj vertikalna sesalna odprtina prisilno polnjeni zrak prisili, da se zavrtinči čisto do dna valja ter izpušne pline potisne skozi skoraj horizontalno izpušno odprtino. Injektor neposrednega vbrizgavanja goriva in svečka sta vgrajena povsem v vrh zgorevalne komore in na ta način omogočita učinkovit vžig gorivne zmesi.

Variabilno odpiranje ventilov

Ključna komponenta za delovanje tega sistema je strategija variabilnega odpiranja ventilov, saj lahko v dvotaktnem motorju kompresijo in moč zgorevanja lahko izkoriščate le dokler so ventili zaprti. Izpušni ventil se vedno odpre dobrih 10 stopinj zasuka ročične gredi pred sesalnim ventilom, oba pa se vedno zapreta hkrati. S prilagajanjem časov odpiranja in zapiranja ventilov namreč lahko konstruktorji pridobijo 120 stopinj kompresije in 100 stopinj ekspanzije ali obratno.

Elektromotor, električni motor Avto Bate, valje in ventile bodo nadomestili magneti

Mazda v tem primeru uporablja podobno strategijo kot pri motorju skyactiv-X, ki kombinira vžig gorivne zmesi s svečko in spontani vžig. V tem primeru naj bi dvotaktni ciklus uporabljali med manjšimi obremenitvami, med križarjenjem pri konstantni hitrosti, kjer bi ventili delovali tako, da bi zagotavljali 120 stopinj kompresije. Če bi bila zaradi pospeševanja potrebna večja moč, bi se časi odpiranja ventilov prilagodili potrebi po 100 stopinjah kompresije in 120 stopinjah ekspanzije, pri čemer bi svečka gorivno zmes vžgala tik preden bi bat dosegel zgornjo mrtvo točko. S to strategijo delovanja naj bi izboljšali učinkovitost motorja brez nevarnosti klenkanja.

Mazda dvotaktni motor | Avtor: United States Patent Application Publication United States Patent Application Publication

Green NCAP Presenečenje Avto "Star" avto se je izkazal za zelo čistega

Prilagodljivost bi lahko takšnemu omogočila tudi delovanje z dvema energentoma. Če bi ga opremili z dvema vžignima sistemoma, bi denimo lahko deloval na bencin ali vodik. Mazda je namreč v preteklosti že razvijala možnosti uporabe vodika v motorjih z notranjim zgorevanjem. Zadnja inkarnacija naj bi bila uporaba vodika v Wanklovem motorju, ki ga razvijajo za vlogo podaljševalnika dosega na mazdi MX-30.

Za sam motor pa sploh ni znano , čemu bo lahko služil. Prilagajanje delovanja obremenitvam namiguje na to, da je namenjen osebnim avtomobilpm, vendar pa se zdi preveč zapleten, da bi bil uporaben za hibridni sklop, kjer pomanjkljivosti gladijo elektromotorji, prav tako pa bi ga težko videli v vlogi pogonske enote za majhne avtomobile. Kot potencialni uporabnik torej obstajajo zgolj velike limuzine in športni terenci ali pa gre zgolj za eksperimentalni motor brez prihodnosti.

Mazda rotacijski motor Potrjeno Avto Vesela novica! Vrača se Wankel!
Komentarjev 1
Napišite prvi komentar!

Za komentiranje je potrebna prijava/registracija. Če nimate uporabniškega računa, izberite enega od ponujenih načinov in se registrirajte v nekaj hitrih korakih.