Avto
188 ogledov

Porsche patentiral novo vrsto airbaga

Porsche boxster Porsche
Porsche je razvil tip zračne blazine, ki bo sposobna obvarovati voznike kabrioletov.

Kabrioleti imajo veliko varnostno pomankljivost, saj nimajo strehe, kar skušajo v primeru prevračanja kompenzirati z zaščitnimi loki, ki se izstrelijo iz bokov. Ampak nimajo niti B stebrička, zato sta potnika brez stranskih zaves precej bolj ranljiva pred trki s strani, prav tako je vzvojna togost karoserije pri čelnih trkih veliko bolj na preizkušnji.

Porsche airbag | Avtor: Porsche Porsche
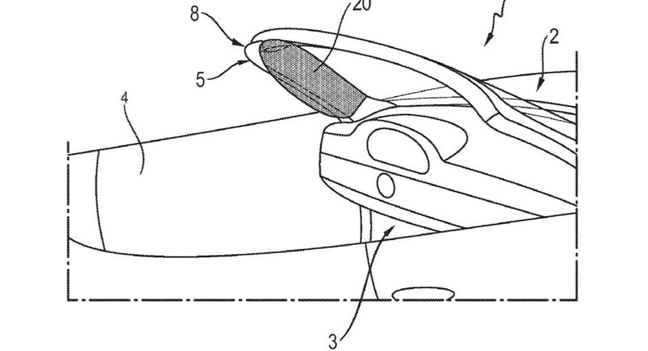
Pri Porscheju so vložili patent za zračno blazino, ki bo vgrajena neposredno v prednji A stebriček. Njena naloga bo, da bo zadržala potnika, ko ga bo sila trka potisnila naprej in vstran. Kabrioleti naj bi bili po tej zaslugi bolj varni.

dezurni@zurnal24.si

Komentarjev 1
Napišite prvi komentar!

Za komentiranje je potrebna prijava/registracija. Če nimate uporabniškega računa, izberite enega od ponujenih načinov in se registrirajte v nekaj hitrih korakih.