Avto
1058 ogledov

Toyota pripravlja revolucijo na področju varnosti

Zračna blazina lutka Profimedia
Povsem nova zasnova zračne blazine.

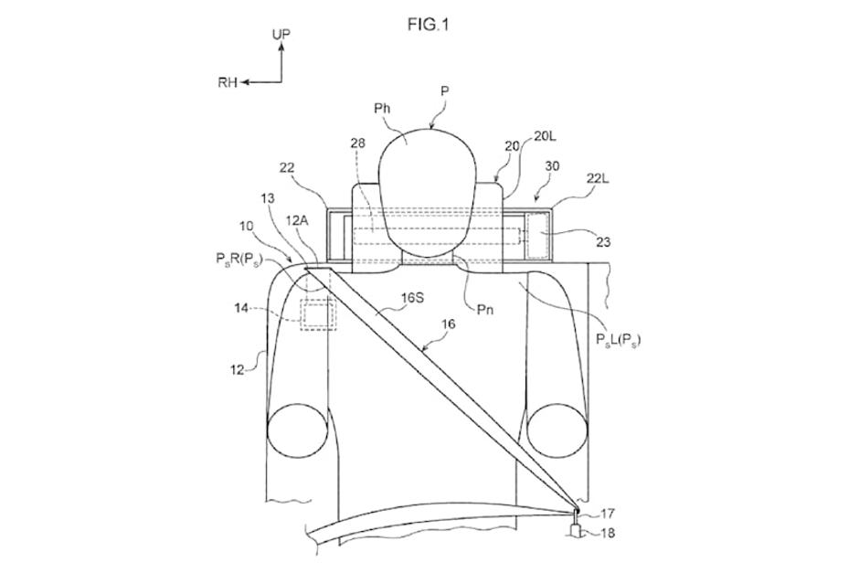
Japonski proizvajalec avtomobilov Toyota pripravlja novo zasnovo zračne blazine za zgornji del telesa, ki ne le ščiti potnikovo glavo pred poškodbami, ampak v primeru trka tudi pokriva obraz ter stabilizira vrat in ramena. To potrjuje prijava, ki jo je Toyota vložila pri ameriškem uradu za patente in blagovne znamke. Samega izgleda napihnjene blazine v javnosti še ni, si je pa mogoče marsikaj že predstavljati na podlagi prijavljenega patenta. 

Pri Toyoti so mnenja, da dosedanje zračne blazine sicer ščitijo glavo in prsni koš, niso pa učinkovite glede zaščite vratu, ki ga v nesrečah zelo pogosto nasrka. Nova blazina pa bo ob sprožitvi poskrbela, da bosta glava in s tem vrat ostala v stabilnem položaju, poravnana z zgornjim trupom telesa. Glava se ob udarcu ne bo mogla zasukati ali suniti vstran. Tudi ob trku pod kotom bo hrbtenica bolje zaščitena, napovedujejo pri Toyoti. 

Zračna blazina lutka | Avtor: Ameriški patentni urad Ameriški patentni urad

In kaj je ključ za takšno učinkovitost blazine? Shranjena bo na novi lokaciji v vzglavniku sedeža, neposredno poleg potnikove glave. Druga lastnost je, da se bo na podlagi podatkov senzorjev začela v dveh stopnjah napihovati že pred samim trkom in bo ob glavnem sunku že v fazi druge stopnje, tako da bo pravočasno ustvarila optimalno obliko za zaščito glave. Sledila bo še tretja stopnja, ki zapolni prostor med glavo in stropom in tako potnika obvaruje od zgoraj. Čisto na koncu pa se aktivira še ramenski del blazine, s katero prepreči zasuk zgornjega dela torza.

Nova blazina bo vgrajena zgolj kot dodatni člen v pasivni varnosti, medtem ko vse ostale že znane blazine ostajajo v uporabi. Kdaj bomo nov koncept videli v serijskem avtu, še ne vemo. Carbuzz poroča, da bo zelo mogoče najprej vgrajen v avte višjega razreda, morda v hčerinski znamki Lexus.

dezurni@styria-media.si

Komentarjev 1
  • Joshau2048 05:01 20.junij 2025.

    🍓 Vroča dekleta čakajo na vas na 👉 𝗦𝗲𝘅𝘁𝗼.𝗹𝗶𝗳𝗲

Sorodne novice